去年の年末に今年はFXのスキャルピングトレードを頑張ると言っておきながら3日坊主みたいな感じでやらなくなってしまっていました。今年に入ってから師匠的な方に稼げるやり方を伝授して貰ったのもあってやる必要がなくなったというのが大きかったです。
そして今月ですがいよいよ手法が通用しなくなる事態が起きることになりました。そちらに関しては収支も含めて別記事にてまとめようかと思います。
ということで今月は代用のやり方を模索する中で、数回ほどトレードするという簡単な条件さえ満たせば抽選でいくらか当たるというキャンペーン狙いができることを知って、その延長線上でスキャルピングトレードの練習をしていました。
自分的にもどんな感じになっているか確認する目的も含めて記事にしようと思います。
キャンペーン目的のGMOクリック証券・GMO外貨で条件を満たす最低限のトレードをして、残りは何年も前に開設してほぼほったらかしになっていたヒロセ通商でトレードしていました。
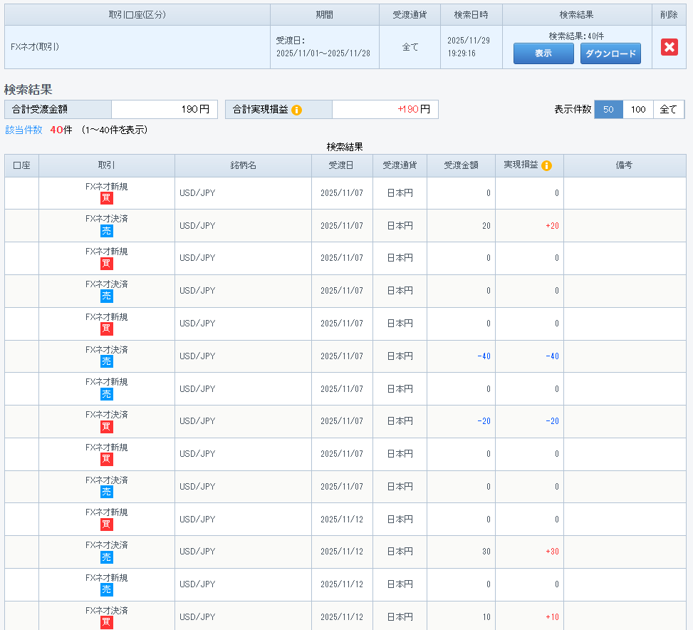
GMOクリック証券のトレード結果
GMOクリック証券はキャンペーン目的で月曜から金曜日までにFXで5万通貨以上の取引なので1万通貨×5回、CFDで5ロット以上の取引なので1ロット×5回の取引をしていました。


精算表では注文と決済がすべて表示されているので40件となっていますが、実際のエントリー回数は半分の20回です。最低ロットが1万通貨なので緊張感がありますが、なんとかマイナスにならずで、合計でプラス349円となってます。
FXのキャンペーンの当選結果は1等2000円が1回、残念賞2回で400円。CFDのキャンペーンで残念賞2回で400円の合計2800円の小銭拾いとなりました。
何より投資信託を1万円購入する条件も満たすことで追加で受けられる抽選の20名に10万円が当たるキャンペーンで10万円当ててしまったのがめちゃくちゃでかいです。下手なIPOより期待値あるんじゃないかと思ってたりします。
GMO外貨のトレード結果
次にGMO外貨ですが、こちらは毎日FXを2万通貨以上取引すると700名に777円が当選するキャンペーンをやっています。CDFを0.1ロット取引することで口数が2加算、更にスマホアプリでFXをトレードすることで口数が2加算されるようです。
パソコンでチャートを見ながらスマホのワンタッチ注文、決済ボタンでポチポチするのですがちょっとやりにくいので1回だけスマホで取引して残りはパソコンで完結しています。2万通貨以上をスマホで取引しないと口数が加算されないのか不明です。
こちらは最小ロット0.1万通貨なので、気兼ねなくポチポチできますが、それだとさすがに回数が多くて疲れるので途中からロット上げて無理くり終わらせたことも…。0.2万通貨で10回とかだとちょうどいいかなと言った感じです。
多少スマホで取引がやりにくくても0.5万通貨を4回でサクッと済ませてしまうのが気が楽な気もしてきたので次営業日からいろいろやってみようかと思います。



トレード結果はこんな感じでFXは112回トレードして20円のプラスで、CFDに関しては3回トレードしてマイナス7円。差し引きでプラス13円という結果です。
777円ですが3営業日ほど参加して2回ほど当選していてFXの約定履歴のキャッシュバック欄にもあるとおり1554円のプラスとなっております。金曜日の抽選結果は翌営業日にならないと分からないのですが、当選していたら2331円のプラスということになりますね。
今のところ結構な確率で当選しているので、もしかしたら80%とかそのくらいの当選確率があるのかも知れません。FXでトレードする人はメジャーなヒロセ通商とかDMMFXでトレードするからか相当競争率が低いのかも知れませんね。
1月末まで毎営業日抽選に参加できるので毎日参加してどの程度の当選確率があるか調べて行きたいですね。40営業日で当選確率70%と仮定すると28回当選するので21756円の小銭拾いになるのは地味に大きいかなと思うのは私だけでしょうか。
トップページに過去のキャンペーンの情報が掲載されていて見ている限りだと、ほぼ通年で似たようなキャンペーンをやっているので自分の甘い皮算用の通りなら年間12万円近くになるのは自分的にかなりの破壊力ですね…。
もし見積もりが甘くて年間の見込み利益が10万円とか8万円ほどだったとしても私的にはやるだけの価値があると思ってしまいます。毎日数分だけポチればPS5、もしかしたらPS5Proに手が届く金額が得られるとかどう考えても壊れてますね。
面倒くさかったら2万通貨で1回ポチっとトレードすれば終わりですので、CFDのトレードも含めたら3分も掛からないんじゃないでしょうか。
スプレッド分負けてもトータルでは余裕で勝てるので動画を見て1ポイント貰えるとかの下手なポイ活とかがバカバカしくなっちゃいますね。
ヒロセ通商のトレード結果
最後にヒロセ通商のトレード結果です。一応NY時間の22時半~24時半くらいをメインにほぼ最小ロット0.1万通貨でトレードしていました。
やり方は依然やっていた”平均足を基準に上位足と同方向のレンジブレイク狙い”は忘れて、1分足での逆張りのやり方を基本的なエントリー指針としてトレードしました。ちなみにワンショットワンキルで、買い増ししたり売り増ししたりはしていません。
上位の5分足や15分足を見て抵抗ラインとなっているところに注目して、確定したローソク足を見てエントリーするかどうかを判断、次足に切り替わって更にギリギリまで引き付けて逆行しないタイミングを狙って入るよう心掛けていました。
利確は1.5~2pipsの利確を損切は1~1.5pipsを意識してトレードしましたが、まだまだ経験値が足りないのかなかなか利益を引っ張れずに0.8pipsとかのチキン利食いが多く2とか3pips取れたのは片手で足りるくらいかもな記憶でした。

結果としてはこんな感じになりました。決済件数が181件で損益はマイナス121円。損益pips数はマイナス9.7pipsという結果になりました。
ぞろ目キャンペーンのカレーが魅力的に思えたので久しぶりに両建てで決済金額111円を狙ったのですが、注文ミスを2回ほどしてしまっていますので実際のトレード回数は6回ほど少ないはずです。
入るタイミングが悪かったのかエントリーしてずっとまごまごして、これはやばい気がする…と建値決済や微損で逃げた直後にズルっと逆行していくことが多かったです。ある意味センスいいかもと少し調子に乗っていたりします。
”スキャルピングは反射神経だ”的な言葉がありますが、この辺の逆行するかもという予感的なものは格闘ゲームの反射神経的なところがあるのかなと感じさせられました。
センスというか言語化できない領域というのか、入るタイミングのシビアさとイグジットする時の思い切りの良さなどがすべて嚙み合った状態でないとトータルでプラスにするのは難しそうですね。
あとがき
ということで超久しぶりのFXのリアルトレード結果の記事でした。
GMOクリック証券、GMO外貨、ヒロセ通商、3社のFX・CFDのトレード収支は合計プラス241円となりました。キャンペーンで得られた金額は4354円でした。
キャンペーン目的ついでのトレードもあるので、時間や局面の選別が雑であまりできておらず、基本方針はこんな感じでふんわりした感じで、直感的に行けそうかと思ったらやってみる感じでやってみました。
ものすごい長い下髭を付けた後、ローソク足が陽線になった瞬間に足の確定を待たずしてエントリーしたり、意識されそうな直近の高値があまりにも遠くにあるので一気に損切を巻き込んで上昇するだろうとブレイクの勢いに飛び乗ったりして利確できたり。
自分の中で技を使い分ける意識を持ちつつ、行けるか行けないかの判断力をもっと付けられたら伸びると思いたいところですね。その辺は沼攻略するカイジ的な観察力が必要そうでしょうか。
しかし、CFDも含めて200回以上トレードしていてマイナス10pipsを超えないのはスキャルピング初心者にしてはやってる方なのかなと思うので、今後やる時間帯や局面を選別することでトータルでプラスにできる可能性はありそうな気がするので気長にやってみようかと思いました。
やっていた手法を一時的に失うことになってしまいましたが、失って代替え案を模索する最中で、”FXのちょろっとトレードで小銭稼ぎポイ活的手法”や、”下手すりゃ本家を超えるかも知れないIPOもどきキャンペーン”を発見できたのは自分に取って大きいできことでした。
乞食の血が騒ぐといいますか、初めて優待クロス取引や立会外分売の手法を知った時のような興奮を覚えましたね。多分前世が乞食だったんでしょうね。また生まれ変わっても乞食になりたいです。(笑)
今年ももうあとひと月ですが、IPOもFXも新しい投資も最後まで頑張っていきたいですね。



コメント